西贝最近又有了新动作。创始人贾国龙的最新创业项目“天边砂锅焖面”今年2月已经在北京798艺术区开张,主打内蒙巴盟风味的砂锅焖面,人均消费四五十块钱,走的还是亲民路线,店里装修也挺有意思,不走西贝那种明亮温馨的家庭风,反而弄了点“山野风”,墙上还摆着巴盟面粉,请了摇滚乐队驻唱,确实有点艺术区的味道。

图片

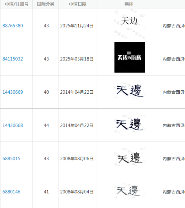
“天边”这个商标早就开始申请注册及布局。西贝餐饮公司已经申请注册了多枚“天边”“天边的厨房”商标,国际分类涉及餐饮住宿、材料加工、教育娱乐等,多数已注册成功。在门店开业之前,西贝已经把品牌的法律身份提前安排好了。

图片


图片

西贝商标注册的核心逻辑从来不是等品牌火了再动手,而是在推向市场前先把坑占住。尤其是“天边”这种带有地域文化色彩的词,如果被人抢注,后续维权成本会很高。

“天边”注册了多个类别,不光注册了餐饮住宿这个核心类别(第43类),连材料加工(第40类)、教育娱乐(第41类)都顺手护上了。这是为啥?因为餐饮品牌做大了,难免要出预包装食品、做供应链,甚至搞餐饮培训,到时候这些类别都用得上。如果只注册一个核心类别,等别人把周边类别抢注了,你再用“天边”开个美食培训班,可能就侵权了。

西贝这次新品牌“天边”的操作,给餐饮企业提了个醒:品牌推向市场之前,商标得先落地。

中细软集团建议,餐饮企业在商标布局上要把握好节奏:

第一阶段先拿下核心类别的确权,确保品牌能合法使用;

第二阶段再根据业务规划,在关联类别上做防御性布局,比如餐饮企业除了第43类餐厅服务,还要考虑第35类饭店商业管理、第40类食品加工等,为后续可能的加盟、供应链业务留好空间。提前占位,总比事后补救来得划算。

贾国龙这次带着新品牌再出发,能不能跑通还不确定。但至少在法律层面,“天边”这个牌子已经站住了。对餐饮企业来说,品牌是核心资产,商标是资产的凭证。门店可以慢慢开,市场可以慢慢拓,但商标这事,最好还是早点落袋为安。


       商标超市网是中细软旗下闲置商标交易领域专业网站,拥有超300万件的闲置商标资源数据库。中华商标超市网是专业提供商标全流程(商标策划、战略、评估、交易、融资等)解决方案的服务机构,现每年为国内外企业及相关单位提供超过上万件商标解决方案。



【温馨提示】文中部分图片来源网络,版权归属原作者,若有不妥,请联系告知修改或删除,谢谢。

图片